
前言
现在的社会,如果你没钱,没势,没背景,没学历,又不想认命,那我建议你在互联网闯一闯,因为互联网机会是公平的,做互联网的没有穷人,只有懒人,只要选对方向,执行力强一点,你的人生都会像开挂了一样,对此我深有体会。
现实生活中的情况是,很多人辛辛苦苦一辈子,最后任然生活在社会的底层(能不打工就尽量不要去打工,打一辈子的工,你打了个啥?打了个车贷,打了个房贷,打了个职业病,还把自己打好的青春年华全给搭进去了,老板看你不顺眼,骂你几句,你哼唧都不敢哼唧一声,然后领导盯着你干活,你就像做贼似的做事,做少了会骂你,做多了工资还不给你加,用到你的时候给你点窝囊钱,用不到你的时候一脚给你踹老远,TMD!)
普通人不赌不拼可以说是没有丝毫机会,总有一代人要去拼,你不拼,你的下一代就要去拼,那么互联网可以说是我们普通人翻身的最好机会!
大家好,我是92年的老何,一个实体创业失败者,于是混迹互联网搞米8年,中专毕业没什么文化,跟大多数人一样普通的不能再普通的人了 (进过厂,干过销售,没有干过什么高级的工作,做过小买卖最后都是干倒闭),精彩的文章我也写不出来,初中写的作文,从来没及格过(哈哈),比不了那些高材生,大家就将就着看哈。
曾经我也是一个小白,对互联网创业一无所知,刚开始进入互联网的时候每天都像无头苍蝇一样在网上到处找项目,因为对互联网认知太低,什么项目能做,什么项目是割韭菜的根本分辨不了,所有韭菜被人割了一次又一次,想想就心酸,不过这对我来说这也是一种成长,今天给大家分享一下这几年做互联网的心得,希望更多的人在互联网创业中少走弯路。
首先说一下为什么我会接触互联网。
没做互联网之前,我是做实体生意的,跟朋友合伙投资几十万开了一家糕点店,糕点大家应该都不陌生吧,相信很多人都吃过,学手艺好几年攒了点钱,我也想当老板自己干,可能我不是这块料,开店这一年多,把辛苦攒下来的钱都赔光了,然后卷铺盖回家了,回到家已经身无分文,穷途末路了,信用卡欠了10多万,办了十张XYK, 懂的人都懂为什么要办这个多XYK,那时候都快被这个信用卡搞死了,目前已经成功上岸,还没上岸的兄弟要加油啊,去干去折腾才有希望。(奉劝各位千万别用XYK,那就是个无底洞)

这是我当时开的店(现在打死我都不会投资几十万去开店,真是后悔没早点接触这个行业 ,做互联网的好处真是太多了,白手就能起家,还能陪在家人身边,不用为了钱东奔西跑, 平时想去哪玩,只要带台手机出去也不耽误赚钱,唯一的不好就是伤身体,所以做互联网的兄弟们,平时也要多锻炼身体,健康才是第一,其他的一切都是浮云)

这一路走来, 我明白了一个道理,互联网的终点站就是卖项目,做项目真的太累了,花了钱还浪费时间跟精力,最后还很难拿到结果,但是卖项目比自己做项目要赚得多的多(那些大割们卖你一个项目就赚你大几百,几千,而你还在傻傻的操作那个项目,累死累活一天赚几块钱,好一点一天赚几十,是不是这个道理),而且卖项目是个长期可持续的项目,能够让你长期立足于互联网,不用担心三天饿两顿,不用担心这个项目黄了,下个项目我要做什么。
卖项目的第三天我一次就收到了2个学员,他们购买了我的男粉项目,我收了398,一天就赚了800,这来钱速度比自己累死累活买一堆设备自己做项目快的多啊,尝到了甜头之后,于是我开始深耕卖项目收学员这条路
永远都是二八定律
做互联网这些年我发现做网赚的最常见的有两类人群
大家也可能做过很多项目,无论你是大咖,还是小白,都要有一颗持之以恒的心,没有一夜暴富的项目,大家不要做梦,一定要脚踏实地的去做,只有努力了才会有结果,所以大家一定要保持一个好的心态,持之以恒,选好一个项目,一直坚持努力的做下去,才会得到你想要的结果,成功不是一蹴而就,而是慢慢积累起来的。想要赚大钱一定是要做有积累的事情
好了,废话不多说,老何直接进入主题
如果你想在互联网创业,那么最主要的问题,你首先是要去找项目,外面的项目琳琅满目,动不动都是大几百,几千的项目,最后能不能赚到钱还是个问题,好的项目都是别人做烂了的才放出,肉都被吃完了,到最后我们只能喝点汤,有时候可能连汤都喝不上。
说到这里你应该不会在去傻傻的去做项目了吧,应该都明白互联网项目的终点站就是卖项目!
那应该如何去卖项目呢?我们不要去跟那些大割们一样把某一个项目进行包装,他们自己都很难拿到结果的项目,然后拿出来卖,去割别人大几百,几千,那真是丧良心。
说几个比较常见的割韭菜项目:
第一,拼多多无货源电商,有人跟我说过他做多多无货源电商的经历,免费教学,他们宣传说是赚供应链的钱,你只需要负责售后,他们帮你发货,帮你上品,推广需要你自己花钱,开店第一天就给你上推广,卖的是榴莲,推广花了3000多,出了900多单,发了17000多的货,结果700多单退款的,才收回来3800,后来要求退钱,就开始扯皮,要求这要求那,真是踩大坑了,所以,要记住免费的往往就是最贵的!
第二,抖音无人直播带货,抖音目前是抵制无人直播带货的,你对着平台干,你能赚钱吗,竟然还有人相信别人有这个技术让你的号不违规,不下播,有多少号给你封多少号,最后的结果就是钱打水漂,所以,对抗平台的项目不要去碰
第三,游戏挂机打金搬砖,广告词大多数都是,免费教学,简单轻松,日赚500+,有电脑就能做,有手机就能做,对外宣称单机月入大几千,甚至过万,游戏材料包回收,好像你只需要配上几台电脑,就能月入十几万,年入几百万,老板对你很热情也是免费教你,开始随便给你点甜头,然后引导你手动太慢了 ,要你买脚本,一个脚本几百块,脚本不单卖,要买就买几个月的,一顿给你忽悠,让你觉得买完脚本你就要发财了,你一次性买个6个脚本买完脚本你就上当了,号全给干没了,你去找老板,老板说你操作不对,让你继续买脚本,哈哈
第四,短视频,图文带货,短视频确实成就了不少人,但是做过带货的伙伴应该都知道,这玩意普通人根本干不了,一个月能出一单就烧高香了,当然不是说带货不挣钱,而是打着教你做带货的一定不挣钱,认清形势,凭什么你交几千块就能让你带货赚几十万?
第五,中视频计划,大人,时代变了+,抖儿子给脸不要脸,工作室账号成本一个300打底,个人去做时间投入成本跟回报不成正比。当然做还是能做的,付费学习就算了!找个知识分享赛道或者科技知识赛道干就行了,影视解说洗洗睡吧。
第六,搬运短剧带货,废号,关键盈利来源于带货,带货需要什么都知道吧,一个号被和谐了起码一个月用不了,保证金也扔进去压一个月!
如果你手里真正有靠谱稳定的项目,那确实可以拿出来卖,把你的经验跟方法教给别人,收别人学费,那也是你应该得到的,如果想学那些大割们,靠割韭菜发家致富,劝你还是算了吧。
既然卖项目99%都是割韭菜,那我们应该如何正确的进入这个赛道呢?
说下我是如何去卖项目的吧,我卖的并不是某一个项目,而是做的自己的网创项目资源整合站(轻创终点站资源站)
01.轻创终点站是做什么的?
网站目前更新1W+互联网项目,每天都在持续更新全网火爆风口的项目,很多都是外面卖几百几千的项目,有的甚至不止,但我们这个平台上面全部课程加起来才卖99,单课程卖9.9,如果你是单纯的想做项目,可以开个99的网站会员,看到好的项目可以自己去试一试,试错成本会很低啊,所以对有需要的人来说是很值的,可以减少你的信息差,杜绝被割韭菜的风险!(网站里面的项目大家也要理性看待,做网站的初衷是:杜绝割韭菜,减少试错成本。任何项目都不可能适合所有人,好的项目也不是每个人都能够做好,教程只能说给你提供一个思路跟方向,不是说你看了资料就能马上挣钱,任何项目都有人挣钱,挣多挣少全靠自己本事,教程只是告诉你这个项目的存在以及如何操作,仅此而已)
为什么我会选择做自己的网创资源站呢?
第一、我看好卖项目这个赛道,但是我不想当大割,单课程卖9.9,开通网站会员99即可全站资料免费学习,这个性价比很高吧,这个不是割韭菜吧?
第二、需求群体庞大,以后网络会越来越发达,想网上赚钱的人会越来越多,那些想在互联网赚钱的的人都是我们的客户,平台有很多他们需要引流的课程,抖音,自媒体课程,以及各种互联网赚钱的项目,换句话说只要是想要网络赚钱的人都是我们的目标用户。
第三、稳定,能够让我长期立足于互联网,不用担心这个项目黄了,又要花时间去找下一个项目
第四 、不跟我以前做项目一样,需要买一堆设备,下载一堆软件,进行各种复杂的操作,做项目是真的心累,做过的人应该都知道
收益怎么样呢?
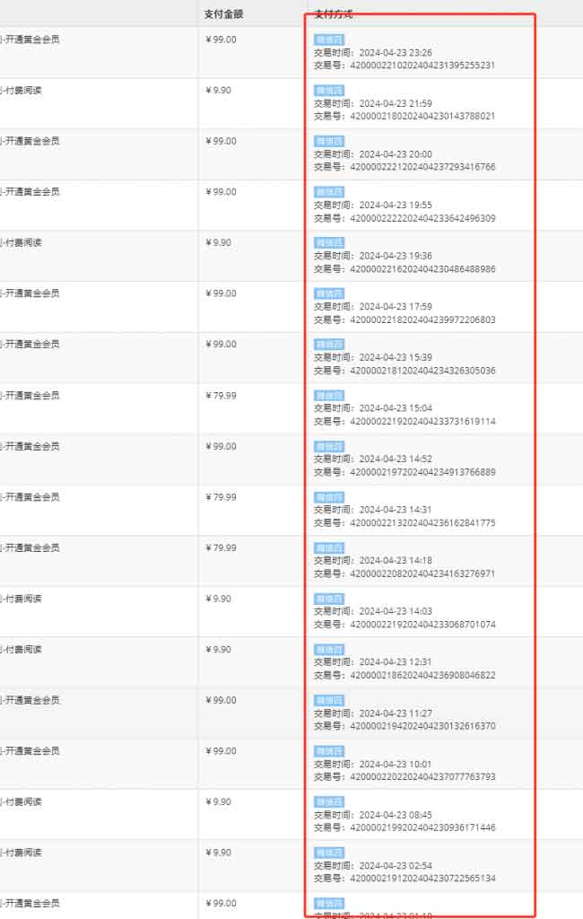
目前我靠自己的网创项目资源站每天收益稳定在1500+,一个月的收入在5W+,说实话在此之前,我也是一个韭菜,从未想过卖项目可以这么赚钱,让我心里感受到了巨大的落差,现在回想起来,当时我真是太天真了,如果我能早点明白这个道理,可能我早就起飞了,所以赛道选择真的太重要了。
可能你觉得我是在吹牛,这个并不重要,我在互联网摸爬滚打8年时间,交过的学费,走过的弯路,吃过的苦,只有自己知道。
大家展示一下我做网站的收益图吧,这是比较辉煌的时刻,最高一天靠网站给我带来了将近1万的收益,对于很多人来说想都不敢想,说实在的我当初也没想过,我当初做互联网只想着能解决下温饱问题,1天赚1万什么概念?我以前上班一个月才5000,一天时间就赚了我两个月的工资,所以说互联网有无限可能,但是你要去干,路都是走出来的,干了才有希望,不干一点希望都没有。

还有我平时分享的资料顺带做的拉新每天都有大几十,虽然不多,但是稳定,可能很多专门做这个拉新项目的人想赚到这个收益都有点费劲

如果你觉得我这个模式可行,可以加盟,费用也不贵,就是你出去请客吃一顿饭的钱,就可以搭建一个跟我一摸一样的网站,1:1复制我的模式
我这套模式,入门门槛低,不管是个人还是团队,都可以操作。如果你不想认命,那你不如在互联网闯一闯,用小钱挣大钱,还是那句话,在互联网做项目不如卖项目,卖项目才是最赚钱的项目。
人生敢闯才有机会,敢拼才有未来, 干了才有希望,不干一点希望都没有!自己一个翻盘的机会!!!在自己能够给承受的范围内,一定要多去尝试,敢于尝试要比别人多出许多成功的机会,像我从来都不是一个拖拖拉拉磨磨唧唧的人,只要我想做某件事,在我能力范围内,我立马就会去做。
02.加盟商是什么?
加盟商就是帮你搭建一个和轻创终点站一样的知识付费网站平台,我教你做网站赚钱,网站是你自己的域名服务器,接入的是你自己的收款,你自己就是站长,就是平台老板,网站所有联系方式都改成你的 ,独立运营,网站所有的利润都是你的。
我会把我做网站的经验、怎么搭建网站的、怎么对接支付收款的、怎么去引流的都会全部教会你,都有非常详细的课程讲解,就算你只有小学文凭也都能看懂,不懂的也可以随时问我,或者请教加盟商群里面的伙伴们,相信他们会很愿意分享他们的经验!
下面是我自己录制的一套完整课程
03.加盟轻创终点站能得到什么?
04.网站盈利模式有哪些?
1、卖VIP会员:价格可以在后台自由设置,VIP会员设置98、198、298不等,一天卖一两个就是几百块,后期积累用户多了,收益只会越来越高。
2、卖单课:每个课程都可以设置价格,网站课程1万+
3、招网站加盟商:你可以打造自己的网站品牌,自己去收加盟,收多少价格自己定
4、做培训:网络培训衍生线下培训,都是高收入来源!
做知识付费虚拟课程资源站,后期没任何成本,全部都是纯利润!(知识付费行业未来会越来越吃香,对此我深有体会,一个月入5万+ 的机会摆在这里!知识付费普通人逆袭的唯一希望,早明白早挣钱)
05.收益怎么样?
不做任何收益保障,想要收益有保障的去找那些大割们,我只能承诺把我自己花了很长时间,踩过很多坑,摸索出来的做网站的经验和方法毫无保留的教给你,跟着有经验,有结果的人学习,会让你少走很多弯路,少踩很多坑,也比那些自己摸索的人更快的拿到结果!
方法告诉你了,赚多赚少与自己个人执行力有关,努力干一个人一年在家赚50万+,三天打鱼两天晒网的,这种人不要来浪费时间了!能拿到结果的前提一定是要去干,你不去干,那一切都是0,我也救不了你啊!
全程一对一服务,包教包会,后续有任何问题都会给你解决!在我这里绝对不会出现交钱不管事的情况,这个我是可以100%保证的,因为我也是从很难的时候走过来的,非常理解大家的不容易。
06.有人又会想,我要怎么把项目卖出去呢?最核心的无非就是引流(重点,这个是重中之重,没有流量一切都是空谈)
那么网站搭建好之后,肯定要去推广引流找精准用户吧(互联网创业,副业粉),不然你在好的东西没人知道也要烂在手里,当初做网站的时候,我觉得引流应该很简单吧,因为现在大环境不好,生活压力变大,很多人都想在互联网赚钱寻找副业(给自己多一份收入)或者创业(在互联网创业可以说成本是最低的还自由,比如我就比较喜欢自由,呆在家一台电脑,一台手机就能把钱赚,自己当老板,平时想干嘛就干嘛,出去玩带台手机也不耽误赚钱,也不用为了钱还得给别人低三下四, 看别人眼色),没想到最大的难点是在引流,导致我在引流这块下了很大的功夫!
因为我之前一直做项目,对推广引流这方面,完全是一片空白,网站开发到上线我才用了不到1个月的时间,但是引流足足花了我两个月的时间才稳定下来,前面两个月基本上每天要花10多个小时去研究引流。
说说我艰难的引流之路吧(引流让我付出了相当大的时间成本,一般都是研究到凌晨三点才休息)
都说同行是最好的老师,一点都没错(现在外面很多人都在模仿我)那就各大平台找对标账号,学习那些卖项目的大割是怎么引流的。
在引流上面我踩了很多坑,走过很多弯路,花了很多不必要花的钱,对我来说这也是一种成长,人生没有白走的路,走的每一步都算数,我不会放弃,我不服输,我看好这个赛道,我就要把他做好。经过长时间的摸索,我终于研究出了适合我自己的六套引流方案,每天只需要一两个小时就能搞定,我目前能保持每天精准粉80+(这套方法同样也适合每一个普通人),解决的了别人解决不了的问题就能赚的了别人赚不了的钱
那么做引流,我有三不做
第一,会封号的不做,做引流最重要的就是不封号,所以我不玩废号流,好比你辛辛苦苦经营的几个月的账号,好不容易流量起来了,结果号封了,你又要重新花时间起号,那你不就是又断流了吗,所以做流量一定是要稳定,不要这顿吃饱了,下一顿还还不知道在哪!
第二,太费时间的不做
第三,要动脑写文案的不做(我就中专毕业,真没这个水平!)
引流之路我从来没有停止过,一直在尝试研究新的方法,只要找到一个可行的方案,那么我就会放大矩阵去做,只要你去做好一个,那么你就不会缺流量
如果你也看到卖项目这个赛道,那我会把我的经验和方法毫无保留的教给你,让你少走弯路,少踩坑,这就是付费的意义,花钱没别人的经验和方法,就是成功最快的途径
07.适合人群
想从事互联网行业,想和我一样立足网络,在网上拥有自己的地盘!但缺少资源,缺少技术,缺少经验的人!通过自己的努力,改变现状逆风翻盘。三天打鱼两三晒网的不要来浪费时间。
人生敢闯才有机会,敢拼才有未来,不苦不累人生无味,不拼不博人生白活,好好干翻身,干不好大不了继续进厂打螺丝,每个人都要给自己拼搏一次的机会!
是不是割韭菜?
不存在割韭菜一说,主要是教你如何去引流做网站,只要你学会精准引流,以后在互联网不愁混不下去,所学到的东西价值远远超过你交的费用,花钱学习别人的经验跟方法付费是理所应当。不是教你做项目,8年互联网全职经验告诉你,花钱学做项目90%要被割韭菜,不信你可以去试试?
简单一句话,我是怎么做的,你就1:1跟着我说的去做,按照我说的方法,保证可以做出效果!记住这是踏踏实实做项目,带着你,我们一起搞钱。
考虑清楚在上车,虚拟项目不支持退款!考虑充分,有耐心和执行力,拒绝三分钟热度,非短期项目不同于做网赚项目见效快死得也快,做站长追求的是长期稳定的事业,靠积累,需沉淀,不过时,做的时间越久收入越高!网站既可以当主业做也可以当一个副业去做。
价格绝对良心,你去外面学个煎饼果子都要花几千块,相对于实体,互联网创业投资成本低的不能在低了,很多人做实体投资大几万,几十万最后赔的血本无归,我们要用最小的成本去挑战最大的希望,做互联网做大的好处就是,既能在家挣米,又能同时兼顾家人,不用在去外面东奔西跑了,这对我来说深有体会
加盟费用
暂定998(随时涨价)
内容包含:
1、一对一扶持搭建同款网站
2、自动更新(每天自动同步更新到你的网站)
3、对接支付端口(微信,支付宝)
4、无水印课程
5、网站源码(自带1万+课程数据)
6、拥有网站的所有权,完全独立,自主管理,自主收款,所有收益归全归你!
7、服务时间24个月
8、提供整套网站运营方案(1:1复制我的模式,全套方法复制给你,你只需要跟着我的脚步一步一步走)
9、自用独家推广引流方案(长期稳定,不封号玩法,非市面上常见的废号流)
老何花了大量时间总结和踩坑,整理出来的最适合普通人做的六种引流方案,六种引流渠道同时进行,被动加人,绝非烂大街技术,前期日引50+精准创业粉,转化率极高,每天需要拿出1到两个小时去执行,这点时间都拿不出来的不要来找我了。(能解决别人解决不了的问题,你就能赚别人赚不到的钱,自古以来的商业模式都是如此)
成年人的世界永远都是价值交换,花钱买别人的经验和方法,自然能让你少走很多弯路,少踩很多坑,这就是成功最快的方法,自己研究看似省钱,但是最后都会体现在其他地方,任何事情,最大的成本就是时间成本,如果有人带着你3天就能解决的事情。千万不要自己摸索3个月!
1.磨磨唧唧的千万别来,这种人只适合打工,不适合创业
2.维持不住生活的别来,我不想做你的救命稻草
3.想交钱暴富的千万别来
4.怕失败的别来,这种人也只适合打工(不用投资,老板还给你钱)
5.没有执行力的(拒绝空想家)
6.没耐心看不懂这篇文章的不要咨询,看不懂我也救不了你
好了,废话不多说,老何直接进入主题
如果你想在互联网创业,那么最主要的问题,你首先是要去找项目,外面的项目琳琅满目,动不动都是大几百,几千的项目,最后能不能赚到钱还是个问题,好的项目都是别人做烂了的才放出,肉都被吃完了,到最后我们只能喝点汤,有时候可能连汤都喝不上。
说到这里你应该不会在去傻傻的去做项目了吧,应该都明白互联网项目的终点站就是卖项目!
那应该如何去卖项目呢?我们不要去跟那些大割们一样把某一个项目进行包装,他们自己都很难拿到结果的项目,然后拿出来卖,去割别人大几百,几千,那真是丧良心。
说几个比较常见的割韭菜项目:
第一,拼多多无货源电商,有人跟我说过他做多多无货源电商的经历,免费教学,他们宣传说是赚供应链的钱,你只需要负责售后,他们帮你发货,帮你上品,推广需要你自己花钱,开店第一天就给你上推广,卖的是榴莲,推广花了3000多,出了900多单,发了17000多的货,结果700多单退款的,才收回来3800,后来要求退钱,就开始扯皮,要求这要求那,真是踩大坑了,所以,要记住免费的往往就是最贵的!
第二,抖音无人直播带货,抖音目前是抵制无人直播带货的,你对着平台干,你能赚钱吗,竟然还有人相信别人有这个技术让你的号不违规,不下播,有多少号给你封多少号,最后的结果就是钱打水漂,所以,对抗平台的项目不要去碰
第三,游戏挂机打金搬砖,广告词大多数都是,免费教学,简单轻松,日赚500+,有电脑就能做,有手机就能做,对外宣称单机月入大几千,甚至过万,游戏材料包回收,好像你只需要配上几台电脑,就能月入十几万,年入几百万,老板对你很热情也是免费教你,开始随便给你点甜头,然后引导你手动太慢了 ,要你买脚本,一个脚本几百块,脚本不单卖,要买就买几个月的,一顿给你忽悠,让你觉得买完脚本你就要发财了,你一次性买个6个脚本买完脚本你就上当了,号全给干没了,你去找老板,老板说你操作不对,让你继续买脚本,哈哈
第四,短视频,图文带货,短视频确实成就了不少人,但是做过带货的伙伴应该都知道,这玩意普通人根本干不了,一个月能出一单就烧高香了,当然不是说带货不挣钱,而是打着教你做带货的一定不挣钱,认清形势,凭什么你交几千块就能让你带货赚几十万?
第五,中视频计划,大人,时代变了+,抖儿子给脸不要脸,工作室账号成本一个300打底,个人去做时间投入成本跟回报不成正比。当然做还是能做的,付费学习就算了!找个知识分享赛道或者科技知识赛道干就行了,影视解说洗洗睡吧。
第六,搬运短剧带货,废号,关键盈利来源于带货,带货需要什么都知道吧,一个号被和谐了起码一个月用不了,保证金也扔进去压一个月!
如果你手里真正有靠谱稳定的项目,那确实可以拿出来卖,把你的经验跟方法教给别人,收别人学费,那也是你应该得到的,如果想学那些大割们,靠割韭菜发家致富,劝你还是算了吧。
既然卖项目99%都是割韭菜,那我们应该如何正确的进入这个赛道呢?
说下我是如何去卖项目的吧,我卖的并不是某一个项目,而是做的自己的网创项目资源整合站(轻创终点站资源站)
01.轻创终点站是做什么的?
网站目前更新1W+互联网项目,每天都在持续更新全网火爆风口的项目,很多都是外面卖几百几千的项目,有的甚至不止,但我们这个平台上面全部课程加起来才卖99,单课程卖9.9,如果你是单纯的想做项目,可以开个99的网站会员,看到好的项目可以自己去试一试,试错成本会很低啊,所以对有需要的人来说是很值的,可以减少你的信息差,杜绝被割韭菜的风险!(网站里面的项目大家也要理性看待,做网站的初衷是:杜绝割韭菜,减少试错成本。任何项目都不可能适合所有人,好的项目也不是每个人都能够做好,教程只能说给你提供一个思路跟方向,不是说你看了资料就能马上挣钱,任何项目都有人挣钱,挣多挣少全靠自己本事,教程只是告诉你这个项目的存在以及如何操作,仅此而已)
为什么我会选择做自己的网创资源站呢?
第一、我看好卖项目这个赛道,但是我不想当大割,单课程卖9.9,开通网站会员99即可全站资料免费学习,这个性价比很高吧,这个不是割韭菜吧?
第二、需求群体庞大,以后网络会越来越发达,想网上赚钱的人会越来越多,那些想在互联网赚钱的的人都是我们的客户,平台有很多他们需要引流的课程,抖音,自媒体课程,以及各种互联网赚钱的项目,换句话说只要是想要网络赚钱的人都是我们的目标用户。
第三、稳定,能够让我长期立足于互联网,不用担心这个项目黄了,又要花时间去找下一个项目
第四 、不跟我以前做项目一样,需要买一堆设备,下载一堆软件,进行各种复杂的操作,做项目是真的心累,做过的人应该都知道
收益怎么样呢?
目前我靠自己的网创项目资源站每天收益稳定在1500+,一个月的收入在5W+,说实话在此之前,我也是一个韭菜,从未想过卖项目可以这么赚钱,让我心里感受到了巨大的落差,现在回想起来,当时我真是太天真了,如果我能早点明白这个道理,可能我早就起飞了,所以赛道选择真的太重要了。
可能你觉得我是在吹牛,这个并不重要,我在互联网摸爬滚打8年时间,交过的学费,走过的弯路,吃过的苦,只有自己知道。
大家展示一下我做网站的收益图吧,这是比较辉煌的时刻,最高一天靠网站给我带来了将近1万的收益,对于很多人来说想都不敢想,说实在的我当初也没想过,我当初做互联网只想着能解决下温饱问题,1天赚1万什么概念?我以前上班一个月才5000,一天时间就赚了我两个月的工资,所以说互联网有无限可能,但是你要去干,路都是走出来的,干了才有希望,不干一点希望都没有。

还有我平时分享的资料顺带做的拉新每天都有大几十,虽然不多,但是稳定,可能很多专门做这个拉新项目的人想赚到这个收益都有点费劲

如果你觉得我这个模式可行,可以加盟,费用也不贵,就是你出去请客吃一顿饭的钱,就可以搭建一个跟我一摸一样的网站,1:1复制我的模式
我这套模式,入门门槛低,不管是个人还是团队,都可以操作。如果你不想认命,那你不如在互联网闯一闯,用小钱挣大钱,还是那句话,在互联网做项目不如卖项目,卖项目才是最赚钱的项目。
人生敢闯才有机会,敢拼才有未来, 干了才有希望,不干一点希望都没有!自己一个翻盘的机会!!!在自己能够给承受的范围内,一定要多去尝试,敢于尝试要比别人多出许多成功的机会,像我从来都不是一个拖拖拉拉磨磨唧唧的人,只要我想做某件事,在我能力范围内,我立马就会去做。
02.加盟商是什么?
加盟商就是帮你搭建一个和轻创终点站一样的知识付费网站平台,我教你做网站赚钱,网站是你自己的域名服务器,接入的是你自己的收款,你自己就是站长,就是平台老板,网站所有联系方式都改成你的 ,独立运营,网站所有的利润都是你的。
我会把我做网站的经验、怎么搭建网站的、怎么对接支付收款的、怎么去引流的都会全部教会你,都有非常详细的课程讲解,就算你只有小学文凭也都能看懂,不懂的也可以随时问我,或者请教加盟商群里面的伙伴们,相信他们会很愿意分享他们的经验!
下面是我自己录制的一套完整课程
03.加盟轻创终点站能得到什么?
04.网站盈利模式有哪些?
1、卖VIP会员:价格可以在后台自由设置,VIP会员设置98、198、298不等,一天卖一两个就是几百块,后期积累用户多了,收益只会越来越高。
2、卖单课:每个课程都可以设置价格,网站课程1万+
3、招网站加盟商:你可以打造自己的网站品牌,自己去收加盟,收多少价格自己定
4、做培训:网络培训衍生线下培训,都是高收入来源!
做知识付费虚拟课程资源站,后期没任何成本,全部都是纯利润!(知识付费行业未来会越来越吃香,对此我深有体会,一个月入5万+ 的机会摆在这里!知识付费普通人逆袭的唯一希望,早明白早挣钱)
05.收益怎么样?
不做任何收益保障,想要收益有保障的去找那些大割们,我只能承诺把我自己花了很长时间,踩过很多坑,摸索出来的做网站的经验和方法毫无保留的教给你,跟着有经验,有结果的人学习,会让你少走很多弯路,少踩很多坑,也比那些自己摸索的人更快的拿到结果!
方法告诉你了,赚多赚少与自己个人执行力有关,努力干一个人一年在家赚50万+,三天打鱼两天晒网的,这种人不要来浪费时间了!能拿到结果的前提一定是要去干,你不去干,那一切都是0,我也救不了你啊!
全程一对一服务,包教包会,后续有任何问题都会给你解决!在我这里绝对不会出现交钱不管事的情况,这个我是可以100%保证的,因为我也是从很难的时候走过来的,非常理解大家的不容易。
06.有人又会想,我要怎么把项目卖出去呢?最核心的无非就是引流(重点,这个是重中之重,没有流量一切都是空谈)
那么网站搭建好之后,肯定要去推广引流找精准用户吧(互联网创业,副业粉),不然你在好的东西没人知道也要烂在手里,当初做网站的时候,我觉得引流应该很简单吧,因为现在大环境不好,生活压力变大,很多人都想在互联网赚钱寻找副业(给自己多一份收入)或者创业(在互联网创业可以说成本是最低的还自由,比如我就比较喜欢自由,呆在家一台电脑,一台手机就能把钱赚,自己当老板,平时想干嘛就干嘛,出去玩带台手机也不耽误赚钱,也不用为了钱还得给别人低三下四, 看别人眼色),没想到最大的难点是在引流,导致我在引流这块下了很大的功夫!
因为我之前一直做项目,对推广引流这方面,完全是一片空白,网站开发到上线我才用了不到1个月的时间,但是引流足足花了我两个月的时间才稳定下来,前面两个月基本上每天要花10多个小时去研究引流。
说说我艰难的引流之路吧(引流让我付出了相当大的时间成本,一般都是研究到凌晨三点才休息)
都说同行是最好的老师,一点都没错(现在外面很多人都在模仿我)那就各大平台找对标账号,学习那些卖项目的大割是怎么引流的。
在引流上面我踩了很多坑,走过很多弯路,花了很多不必要花的钱,对我来说这也是一种成长,人生没有白走的路,走的每一步都算数,我不会放弃,我不服输,我看好这个赛道,我就要把他做好。经过长时间的摸索,我终于研究出了适合我自己的六套引流方案,每天只需要一两个小时就能搞定,我目前能保持每天精准粉80+(这套方法同样也适合每一个普通人),解决的了别人解决不了的问题就能赚的了别人赚不了的钱
那么做引流,我有三不做
第一,会封号的不做,做引流最重要的就是不封号,所以我不玩废号流,好比你辛辛苦苦经营的几个月的账号,好不容易流量起来了,结果号封了,你又要重新花时间起号,那你不就是又断流了吗,所以做流量一定是要稳定,不要这顿吃饱了,下一顿还还不知道在哪!
第二,太费时间的不做
第三,要动脑写文案的不做(我就中专毕业,真没这个水平!)
引流之路我从来没有停止过,一直在尝试研究新的方法,只要找到一个可行的方案,那么我就会放大矩阵去做,只要你去做好一个,那么你就不会缺流量
如果你也看到卖项目这个赛道,那我会把我的经验和方法毫无保留的教给你,让你少走弯路,少踩坑,这就是付费的意义,花钱没别人的经验和方法,就是成功最快的途径
07.适合人群
想从事互联网行业,想和我一样立足网络,在网上拥有自己的地盘!但缺少资源,缺少技术,缺少经验的人!通过自己的努力,改变现状逆风翻盘。三天打鱼两三晒网的不要来浪费时间。
人生敢闯才有机会,敢拼才有未来,不苦不累人生无味,不拼不博人生白活,好好干翻身,干不好大不了继续进厂打螺丝,每个人都要给自己拼搏一次的机会!
是不是割韭菜?
不存在割韭菜一说,主要是教你如何去引流做网站,只要你学会精准引流,以后在互联网不愁混不下去,所学到的东西价值远远超过你交的费用,花钱学习别人的经验跟方法付费是理所应当。不是教你做项目,8年互联网全职经验告诉你,花钱学做项目90%要被割韭菜,不信你可以去试试?
简单一句话,我是怎么做的,你就1:1跟着我说的去做,按照我说的方法,保证可以做出效果!记住这是踏踏实实做项目,带着你,我们一起搞钱。
考虑清楚在上车,虚拟项目不支持退款!考虑充分,有耐心和执行力,拒绝三分钟热度,非短期项目不同于做网赚项目见效快死得也快,做站长追求的是长期稳定的事业,靠积累,需沉淀,不过时,做的时间越久收入越高!网站既可以当主业做也可以当一个副业去做。
价格绝对良心,你去外面学个煎饼果子都要花几千块,相对于实体,互联网创业投资成本低的不能在低了,很多人做实体投资大几万,几十万最后赔的血本无归,我们要用最小的成本去挑战最大的希望,做互联网做大的好处就是,既能在家挣米,又能同时兼顾家人,不用在去外面东奔西跑了,这对我来说深有体会
加盟费用
暂定1998(随时涨价)
内容包含:
1、一对一扶持搭建同款网站
2、自动更新(每天自动同步更新到你的网站)
3、对接支付端口(微信,支付宝)
4、无水印课程
5、网站源码(自带1万+课程数据)
6、拥有网站的所有权,完全独立,自主管理,自主收款,所有收益归全归你!
7、服务时间24个月
8、提供整套网站运营方案(1:1复制我的模式,全套方法复制给你,你只需要跟着我的脚步一步一步走)
9、自用独家推广引流方案(长期稳定,不封号玩法,非市面上常见的废号流)
老何花了大量时间总结和踩坑,整理出来的最适合普通人做的六种引流方案,六种引流渠道同时进行,被动加人,绝非烂大街技术,前期日引50+精准创业粉,转化率极高,每天需要拿出1到两个小时去执行,这点时间都拿不出来的不要来找我了。(能解决别人解决不了的问题,你就能赚别人赚不到的钱,自古以来的商业模式都是如此)
成年人的世界永远都是价值交换,花钱买别人的经验和方法,自然能让你少走很多弯路,少踩很多坑,这就是成功最快的方法,自己研究看似省钱,但是最后都会体现在其他地方,任何事情,最大的成本就是时间成本,如果有人带着你3天就能解决的事情。千万不要自己摸索3个月!
1.磨磨唧唧的千万别来,这种人只适合打工,不适合创业
2.维持不住生活的别来,我不想做你的救命稻草
3.想交钱暴富的千万别来
4.怕失败的别来,这种人也只适合打工(不用投资,老板还给你钱)
5.没有执行力的(拒绝空想家)
6.没耐心看不懂这篇文章的不要咨询,看不懂我也救不了你
感谢您的来访,获取更多精彩文章请收藏本站。
© 版权声明
1、本内容转载于网络,版权归原作者所有!
2、本站仅提供信息存储空间服务,不拥有所有权,不承担相关法律责任。
3、本内容若侵犯到你的版权利益,请联系我们,会尽快给予删除处理!
4、本站全资源仅供测试和学习,请勿用于非法操作,一切后果与本站无关。
5、如遇到充值付费环节课程或软件 请马上删除退出 涉及自身权益/利益 需要投资的一律不要相信,访客发现请向客服举报。
6、本教程仅供揭秘 请勿用于非法违规操作 否则和作者 官网 无关
THE END














